Archivo:Psestruc.jpg
Tamaño de esta previsualización: 367 × 600 píxeles. Otras resoluciones: 147 × 240 píxeles | 459 × 750 píxeles.
Archivo original (459 × 750 píxeles; tamaño de archivo: 52 KB; tipo MIME: image/jpeg)
Sumario
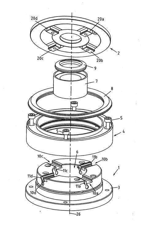
Estructura del plato de sujeción
Estado de copyright:
Libre
Fuente:
patentados.com
Historial del archivo
Haz clic sobre una fecha/hora para ver el archivo a esa fecha.
| Fecha y hora | Miniatura | Dimensiones | Colaborador | Comentario | |
|---|---|---|---|---|---|
| actual | 08:04 3 abr 2013 | 459 × 750 (52 KB) | Esperanza11011jc (discusión | contribuciones) | Estructura del plato de sujeción |
- No puedes sobrescribir este archivo.
Usos del archivo
La siguiente página enlaza a este archivo: