Circuitos de alimentación de los autoosciladores
El circuito alimentador de un autooscilador con corriente continua se da en la fig. 4.8 y 4.9. Como se mencionó, en el momento inicial para que las condiciones de autoexcitación (Smedk > 1/Zeq) se observen en menester que la pendiente de la característica Ic = f(UBE) del transistor sea bastante apreciable. Esto significa que la polarización inicial en la base del transistor deberá ser mayor que Eco. En caso de que surjan las oscilaciones es necesario, para aminorar la pendiente media que, a medida que aumenta la amplitud de las oscilaciones, la polarización en la base del transistor se reduzca. En régimen estacionario se fija una polarización EB menor que la tensión de corte Eco.
Sumario
En régimen estacionario
EB = EcR2/(R1 + R2) – IBOR1R2/( R1 + R2) – R3 (Ico + IBO).
Aquí EB.ext = EcR2/(R1 + R2) es la polarización externa de desbloqueo; IBOR1R2/( R1+R2), la polarización automática, condicionada por la corriente de base; R3 (Ico + IBO). La polarización automática suscitada por la componente continua de la corriente de emisor IEO = Ico + IBO.
Teniendo en cuenta que: IBO = Ico/ßo e IEO = (1 + ßo) Ico/ ßo.
ßo es el coeficiente estático de amplificación en corriente en el circuito con EC), obtenemos:
EB = EcR2/(R1 + R2) – Ico{(1/ ßo) [R1R2/( R1 + R2) + R3] + R3}.
En caso de la aproximación lineal a trozos
Ico = SUBE1Yo(0);
cos 0 = - (EB - Eco)/UBE1.
Se obtiene la ecuación que relaciona la tensión de polarización (EB) y la componente continua de la corriente de colector:
EB = Eco - (Ico/S) [cos 0/Yo (0)].
Relación entre EB e ICO
La resolución conjunta de las ecuaciones permite hallar la relación entre EB e ICO para un ángulo de corte 0 prefijado. En la fig. 4.9. El paso del autooscilador del régimen de reposo al régimen estacionario va acompañado con la variación de la componente continua en la corriente de colector igual a Δlco. Con el fin de aminorar la alteración de los parámetros reactivos del transistor al variar Δlco, tienden a calcular los circuitos de polarización de manera que Δlco sea pequeño. Esto se consigue conectando en el circuito de emisor del transistor la resistencia R3, (ver fig. 4.8).
Efecto de los factores destabilizadores
Bajo el efecto de los factores destabilizadores, puede variar también la corriente de base IBO (debido a la dependencia apreciable de la temperatura del coeficiente ßo), y esto, a su vez, significa que en correspondencia, cambia la tensión de polarización en la base del transistor. Este efecto puede reducirse si es que se cumple la desigualdad: R1R2/(R1 + R2) << (1 + ßo) R3.
El segundo sumando es en este caso considerablemente menor que el tercero y por lo tanto la polarización automática, condicionada por la corriente de base, es muy pequeña comparada con la polarización automática estipulada por la corriente de emisor.
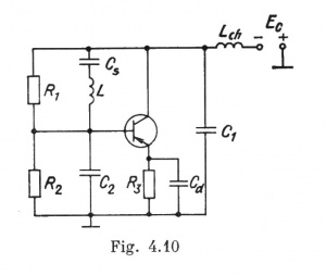
En la práctica las resistencias R1 y R, se eligen bastante considerables, con el fin de asegurar, sin elementos de bloqueo adiciona, una pequeña derivación de los circuitos de r.f. del autooscilador. Ver fig 4.10.
Fuentes
- Shajguildoian VV. Transmisores de radio, p: 143-145. Editorial Mir Moscú. 1983

