Microsistema fotovoltaico conectado al Sistema Electroenergético Nacional
| ||||||
Microsistema fotovoltaico conectado al Sistema Electroenergético Nacional. A partir de 1997, el Centro de Investigaciones de Energía Solar dio un nuevo paso de avance en el desarrollo de las aplicaciones fotovoltaicas, al instalar las dos primeras centrales fotovoltaicas en Cuba, para dar servicio a unos 200 habitantes de los asentamientos rurales de Santa María del Loreto y El Triunfo.
Sumario
Descripción
Mucho queda aún por electrificar en el campo cubano; sin embargo, las aplicaciones conectadas a la red (y no solo para el ámbito urbano) deberán considerarse en la preparación del país para la utilización de todas sus fuentes renovables, como garantía de independencia y sostenibilidad energéticas, ante los elevados precios del petróleo y su previsible agotamiento, sentando las bases para futuros proyectos de mayor alcance tecnológico, que permitan estudiar, evaluar y validar este tipo de aplicación fotovoltaica y su posible generalización de forma paulatina en el país.
Generador fotovoltaico
El generador fotovoltaico (Fig. 1) está compuesto por 30 módulos, conectados en serie, para una potencia total de 7,5 kWp. Formado por 3 cadenas de 10 módulos, cada una con una potencia de 2,5 kW, 303 VCD y 8,22 A.
Además, la estructura de soporte sirve para unir y aportar rigidez a los módulos, conformada por
un bastidor de perfiles de aluminio.
Está diseñada para soportar todas las cargas mecánicas que pudieran presentarse en cada caso: vientos sostenidos de hasta de 250 km/h y las contracciones y dilataciones por cambios de temperaturas.
Inversor
El dispositivo fundamental de un sistema fotovoltaico conectado a la red es el inversor (unidad de acondicionamiento de potencia) (Fig. 2). Funciona como interfase entre el generador fotovoltaico y la red eléctrica. De este modo, el sistema fotovoltaico conectado a la red forma parte de los sistemas de generación que alimentan a dicha red.
El sistema fotovoltaico de conexión a la red está formado por 3 inversores, SUNNY BOY, conectado, cada uno, a una cadena de 10 módulos fotovoltaicos. Estos inversores siguen la frecuencia a la tensión correspondiente de la red a la que se encuentren conectados. La forma de onda de la corriente de salida del inversor es sinusoidal, minimizando el contenido de armónicos inyectados en la red.
Los inversores están provistos de un sistema de información automatizada que brinda toda la información necesaria sobre la producción de energía y demás datos del generador fotovoltaico y del sistema en su conjunto. De igual forma, ofrecen la posibilidad de comunicación por cable RS485 con el ordenador, a través de un dispositivo SUNNY WEBBOX.
La instalación fotovoltaica está dotada de la instrumentación necesaria para realizar las mediciones, tanto manuales como automatizadas, y para ello cuenta con un equipo multifunción.
Equipo multifunción
El instrumento, modelo I-V 400 (Fig. 3), permite la obtención sobre el campo de la característica más importante de los módulos fotovoltaicos: la curva I-V y los principales parámetros característicos, tanto de un único módulo, como de un grupo de ellos, hasta un máximo de 1 000 V y 10 A.
Este instrumento permite determinar inmediatamente si los módulos, o grupo de módulos, respetan los parámetros declarados por el fabricante. Incorpora una base de datos interna que se puede actualizar en cualquier momento por el usuario, tanto por el programa de gestión, como directamente a través de la interfaz de usuario del instrumento.
Sistema de adquisición de datos
La instalación fotovoltaica está provista de un sistema de adquisición de datos, SUNNY WEBBOX, que interacciona con la misma a partir de un software, que permite conocer y visualizar en tiempo real la producción de energía del sistema (horaria, diaria, mensual y anual), además de otros parámetros característicos, por citar solo la reducción de CO2 a la atmósfera y los datos registrados por los inversores, todos ellos resumidos en un fichero, que constituyen una base de datos muy importante para los análisis estadísticos y futuras investigaciones.
Por otra parte, el CIES cuenta con una Estación Actinométrica (Fig. 4, en página anterior), la cual tiene un papel fundamental en las mediciones. La potencia que entrega una central fotovoltaica resulta primordialmente de su respuesta a dos condiciones de operación: la irradiancia incidente sobre el generador y la temperatura de operación de sus módulos.
En consecuencia, un elemento clave para caracterizar o evaluar el funcionamiento de una central fotovoltaica consiste en la medida de estas condiciones con la menor incertidumbre posible. Directa o indirectamente, las condiciones de operación del generador fotovoltaico dependen de las condiciones ambientales: irradiancia global horizontal, temperatura ambiente y velocidad de viento.
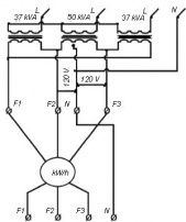
Banco de transformador del CIES
La figura 5 muestra el banco de transformador de alimentación al CIES. Su entrada es de 13 kV, formada por un primario en ESTRELLA y un secundario en DELTA, con un NEUTRO conectado al NEUTRO de la red, y que a su vez parte del centro del secundario de uno de los transformadores.
Las tensiones en la bobina del secundario entre las fases F1, F2 y F3 son de 230 V, con cable No. 4 de sección 21,1 mm2 y 148,5 m de longitud. Referido al neutro, entre las fases F2 y F3 del secundario existe 120 V. Estas fases van a un contador trifásico de 50-100 A y 60 Hz, y después a una pizarra eléctrica general, PGD, donde se distribuyen las fases a las diferentes cargas a alimentar. En este caso, como los inversores tienen una salida de 220 VCA, se utilizan las fases F2 y F3 para la conexión a la red.
Una vez definidas e identificadas las fases F2 y F3, se analizaron las caídas de tensiones posibles en las mismas, y las cargas que estas alimentan. Las cargas conectadas a las fases, son las siguientes: secador de madera, estación actinométrica y laboratorio de módulos fotovoltaicos, para una potencia total en capacidad instalada de 8,69 kW; de ellas, 8,44 kW es monofásica y 0,25 kW es trifásica, y los voltajes de trabajo oscilan en el rango de 110 V y 220 V (Tabla 1).
La longitud promedio desde los inversores hasta la pizarra, PGD, donde se distribuyen las distintas cargas instaladas en ambas fases, es de 128,4 m, para una corriente de 39,5 A, con un coeficiente de resistividad de 0,20 y un coeficiente inductivo de 0,12, resultando una caída por resistencia en los conductores de 7,69 V, y a su vez una caída por resistencia inductiva de 4,74 V, para una caída en los conductores de 7,73 V, lo que equivale a 3,36%, admisible, según la norma para instalación eléctrica, entre 3 y 4% de caída de voltaje.
Diseño y simulación
Para obtener un adecuado y eficiente diseño de la instalación, se requiere, a partir del software, introducir una serie de datos característicos de la zona, tales como irradiancia y temperatura, y los datos característicos del módulo fotovoltaico y el inversor que se utilizarán. Todo ello brinda las informaciones siguientes para el diseño:
1. Datos anuales promedio: Para ello se toman los datos promedio mensuales de las variables actinométricas, tomadas de la Estación Actinométrica del CIES y demás datos relacionados con la instalación:
- GLOBHOR : Irradiancia global (kWh/m2).
- T amb: Temperatura ambiente (°C).
- WindVel: Velocidad del viento (m/s).
- OhmLoss: Pérdida óhmica (kWh).
- EArrMPP: Energía virtual del generador en el punto de máxima potencia (kWh).
- UArray: Voltaje del generador (V).
- IArray: Corriente del generador (Ah).
- EOutInv: Energía disponible a la salida del inversor (kWh).
2. Diseño del generador fotovoltaico: A partir de los datos técnicos seleccionados, como potencia estimada a instalar, potencia del módulo fotovoltaico y potencia del inversor, ello permite determinar el diseño del generador fotovoltacio, el número de módulos y la cantidad de cadenas de módulos que se necesitan, además del área para la instalación.
3. Diagrama de pérdidas de la instalación.
4. Producción normalizada por kWp instalado.
La tabla 2 resume los datos promedios de las variables medidas por la Estación Actinométrica durante el 2010, y demás datos obtenidos con la simulación de las características técnicas de los principales componente de la instalación fotovoltaica (módulos e inversores), que permiten estimar la energía promedio disponible a la salida de los inversores (EOutInv) de 10,727 MWh, y la producción anual (/EArrMPP) de 11,476 MWh.
A partir de los datos promedio de la instalación, la figura 6 muestra las posibles pérdidas anuales de la instalación, donde el mayor porcentaje de pérdida se produce en el generador, debido a la temperatura de los módulos, de 9%, superior a las pérdidas globales del inversor durante su funcionamiento, que son de 6,5%.
A partir de la simulación, la figura 7 muestra la producción normalizada de la central fotovoltaica, que se estima sea de 11,476 MWh/año, desde el punto de vista teórico. Para ello se requiere ser riguroso con el equipamiento que se debe adquirir, y sobre todo en la calidad y certificados de garantía de los módulos fotovoltaicos e inversores.
Resultado del diseño
Como resultado del diseño, la instalación fotovoltaica quedará de la forma siguiente:
- Treinta módulos fotovoltaicos de 250 Wp, agrupados en tres cadenas, cada una de 10 módulos fotovoltaicos conectados en serie, para una potencia de 2,5 kWp y una potencia instalada de generación de 7,5 kWp.
- Tres inversores de 2 300 W cada uno, conectados a una cadena de 10 módulos, con una potencia de salida de 6,9 kWp.
- La capacidad teórica de producción energía es de 11,4 MWh/año.

