TIP142
| ||||
TIP142 es un transistor NPN de potencia diseñado para aplicaciones de amplificación de baja frecuencia y conmutación.
Descripción
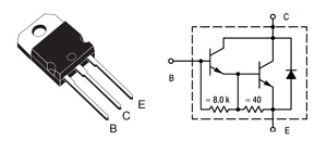
TIP142 es un transistor NPN de potencia fabricado de silicio con tecnología planar y configuración monolítica en darlington. Complementario con el transistor PNP TIP147. TIP142 muestra un excepcional rendimiento de alta ganancia, junto con un voltaje de saturación muy bajo, al igual que el tiempo de conmutación que es muy rápido, lo que resulta que las pérdidas de conmutación y conducción sean reducidas. Además tiene integrado un diodo antiparalelo entre colector y emisor como medida de protección.
Principales características
Potencia de disipación (Ptot): 125 W
Tensión colector base (Vcb): 100 V
Tensión colector emisor (Vce): 100 V
Tensión emisor base (Veb): 5 V
Corriente de colector máxima (Ic): 10 A
Temperatura máxima de operación (Tj): 150 °C
Ganancia de corriente continua (hfe): 500
Encapsulado plástico de tipo: TO-218
Sustituto: NTE270
Aplicaciones
Por su estructura es ideal para ser utilizado en una amplia variedad de diseños de circuitos electrónicos como audio, electrónica industrial, la amplificación de baja frecuencia y la conmutación.
Enlaces externos
https://www.carrod.mx/products/transistor-tip142-potencia
https://pdf1.alldatasheet.com/datasheet-pdf/view/2772/MOSPEC/TIP142.html
https://alltransistors.com/es/transistor.php?transistor=46817
Fuente
Power products data book. Texas Instruments, 1985
Audio Electronics, Volumes 28-29. Audio Amateur Corporation, 1997
Electronics World Incorporating Wireless World, Volume 107, Issues 1777-1788. Reed Business Pub. 2001.


