Diferencia entre revisiones de «Circuitos de alimentación de los autoosciladores»

(Página creada con 'El '''circuito alimentador''' de un '''autooscilador''' con corriente continua se da en la fig. 4.8. Como se mencionó, en el momento inicial para que las condiciones de autoexc...')
 
Línea 1: Línea 1:
El '''circuito alimentador''' de un '''autooscilador''' con corriente continua se da en la fig. 4.8. Como se mencionó, en el momento inicial para que las condiciones de autoexcitación (Smedk > 1/Zeq) se observen en menester que la pendiente de la característica Ic = f(UBE) del transistor sea bastante apreciable. Esto significa que la polarización inicial en la base del transistor deberá ser mayor que Eco. En caso de que surjan las oscilaciones es necesario, para aminorar la pendien­te media que, a medida que aumenta la amplitud de las oscilacio­nes, la polarización en la base del transistor se reduzca. En régimen estacionario se fija una polarización EB menor que la tensión de corte Eco. De esta manera en el autooscilador a transistor se debe disponer de una fuente de polarización de desbloqueo exterior EB.ext (a cuenta del divisor R1, R2 en la fig. 4.8) y otra, de polarización automática de bloqueo EB - EB,ext (a cuenta de la corriente IBo e Ico).
+
El '''circuito alimentador''' de un '''autooscilador''' con corriente continua se da en la '''fig. 4.8 y 4.9'''. Como se mencionó, en el momento inicial para que las condiciones de autoexcitación (Smedk > 1/Zeq) se observen en menester que la pendiente de la característica Ic = f(UBE) del transistor sea bastante apreciable. Esto significa que la polarización inicial en la base del transistor deberá ser mayor que Eco. En caso de que surjan las oscilaciones es necesario, para aminorar la pendien­te media que, a medida que aumenta la amplitud de las oscilacio­nes, la polarización en la base del transistor se reduzca. En régimen estacionario se fija una polarización EB menor que la tensión de corte Eco. De esta manera en el autooscilador a transistor se debe disponer de una fuente de polarización de desbloqueo exterior EB.ext (a cuenta del divisor R1, R2 en la '''fig. 4.8''') y otra, de polarización automática de bloqueo EB - EB,ext (a cuenta de la corriente IBo e Ico).<br>
 
+
[[Archivo:Fig_4.8.jpg|350px]]
 
== En régimen estacionario ==
 
== En régimen estacionario ==
 
EB = EcR2/(R1 + R2) – IBOR1R2/( R1 + R2) – R3 (Ico + IBO).
 
EB = EcR2/(R1 + R2) – IBOR1R2/( R1 + R2) – R3 (Ico + IBO).
(4.33)
+
'''(4.33)'''
 
Aquí EB.ext = EcR2/(R1 + R2) es la polarización externa de desbloqueo; IBOR1R2/( R1+R2), la polarización automática, con­dicionada por la corriente de base; R3 (Ico + IBO). La polarización automática suscitada por la componente continua de la corriente de emisor IEO = Ico + IBO.
 
Aquí EB.ext = EcR2/(R1 + R2) es la polarización externa de desbloqueo; IBOR1R2/( R1+R2), la polarización automática, con­dicionada por la corriente de base; R3 (Ico + IBO). La polarización automática suscitada por la componente continua de la corriente de emisor IEO = Ico + IBO.
  
Línea 9: Línea 9:
 
IBO = Ico/ßo e IEO = (1 + ßo) Ico/ ßo.
 
IBO = Ico/ßo e IEO = (1 + ßo) Ico/ ßo.
  
ßo es el coeficiente estático de amplificación en corriente en el [[circuito]] con EC), de (4.33) obtenemos:
+
ßo es el coeficiente estático de amplificación en corriente en el [[circuito]] con EC), de '''(4.33)''' obtenemos:
  
 
EB = EcR2/(R1 + R2) – Ico{(1/ ßo) [R1R2/( R1 + R2) + R3] + R3}.
 
EB = EcR2/(R1 + R2) – Ico{(1/ ßo) [R1R2/( R1 + R2) + R3] + R3}.
(4.34)
+
'''(4.34)'''
 
En caso de la aproximación lineal a trozos
 
En caso de la aproximación lineal a trozos
  
 
Ico = SUBE1Yo(0);         
 
Ico = SUBE1Yo(0);         
(4.35)
+
'''(4.35)'''
  
 
cos 0 = - (EB - Eco)/UBE1.         
 
cos 0 = - (EB - Eco)/UBE1.         
(4.36)
+
'''(4.36)'''
De (4.35) y (4.36) se obtiene la ecuación que relaciona la tensión de polarización (EB) y la componente continua de la [[corriente]] de colector:
+
De '''(4.35)''' y '''(4.36)''' se obtiene la ecuación que relaciona la tensión de polarización '''(EB)''' y la componente continua de la [[corriente]] de colector:
  
 
EB = Eco - (Ico/S) [cos 0/Yo (0)].
 
EB = Eco - (Ico/S) [cos 0/Yo (0)].
(4.37)
+
'''(4.37)'''<br>
 
+
[[Archivo:Fig_4.9.jpg|357px]]<br>
 
== Relación entre EB e ICO ==
 
== Relación entre EB e ICO ==
La resolución conjunta de las ecuaciones (4.34) y (4.37) permite hallar la relación entre EB e ICO para un ángulo de corte 0 prefijado. En la fig. 4.9 se muestra la resolución gráfica del sistema de ecua­ciones (4.34) y (4.37) para el instante de autoexcitación (0 = 180º) y para el régimen estacionario (A < 90°). El punto A corresponde al régimen de autoexcitación; el punto B, al régimen estacionario. El paso del autooscilador del régimen de reposo al régimen estacio­nario va acompañado con la variación de la componente continua en la corriente de colector igual a Δlco. Con el fin de aminorar la alteración de los parámetros reactivos del transistor al variar Δlco, tienden a calcular los circuitos de polarización de manera que Δlco sea pequeño. Esto se consigue conectando en el circuito de emisor del transistor la resistencia R3, (ver fig. 4.8).
+
La resolución conjunta de las ecuaciones '''(4.34)''' y '''(4.37)''' permite hallar la relación entre EB e ICO para un ángulo de corte 0 prefijado. En la '''fig. 4.9''' se muestra la resolución gráfica del [[sistema de ecua­ciones]] '''(4.34)''' y '''(4.37)''' para el instante de autoexcitación (0 = 180º) y para el régimen estacionario (A < 90°). El punto A corresponde al régimen de autoexcitación; el punto '''B''', al régimen estacionario. El paso del autooscilador del régimen de reposo al régimen estacio­nario va acompañado con la variación de la componente continua en la [[corriente]] de colector igual a Δlco. Con el fin de aminorar la alteración de los parámetros reactivos del transistor al variar Δlco, tienden a calcular los circuitos de polarización de manera que Δlco sea pequeño. Esto se consigue conectando en el circuito de emisor del transistor la resistencia R3, ('''ver fig. 4.8''').
  
 
== Efecto de los factores destabilizadores ==
 
== Efecto de los factores destabilizadores ==
Bajo el efecto de los factores destabilizadores, puede variar tam­bién la corriente de base IBO (debido a la dependencia apreciable de la temperatura del coeficiente ßo), y esto, a su vez, significa que en correspondencia con (4.33) cambia la tensión de polarización en la base del transistor. Este efecto puede reducirse si es que se cumple la desigualdad:
+
Bajo el efecto de los factores destabilizadores, puede variar tam­bién la corriente de base IBO (debido a la dependencia apreciable de la temperatura del coeficiente ßo), y esto, a su vez, significa que en correspondencia con '''(4.33)''' cambia la tensión de polarización en la base del transistor. Este efecto puede reducirse si es que se cumple la desigualdad:
 
R1R2/(R1 + R2) << (1 + ßo) R3.         
 
R1R2/(R1 + R2) << (1 + ßo) R3.         
(4.38)
+
'''(4.38)'''
  
El segundo sumando en (4.33) es en este caso considerablemente menor que el tercero y por lo tanto la polarización automática, condicionada por la corriente de base, es muy pequeña comparada con la polarización automática estipulada por la corriente de emisor.  
+
El segundo sumando en '''(4.33)''' es en este caso considerablemente menor que el tercero y por lo tanto la polarización automática, condicionada por la corriente de base, es muy pequeña comparada con la polarización automática estipulada por la corriente de emisor.  
  
 
En la práctica las resistencias R1 y R, se eligen bastante considerables, con el fin de asegurar, sin elementos de bloqueo adiciona­, una pequeña derivación de los circuitos de r.f. del autooscilador.
 
En la práctica las resistencias R1 y R, se eligen bastante considerables, con el fin de asegurar, sin elementos de bloqueo adiciona­, una pequeña derivación de los circuitos de r.f. del autooscilador.
  
 +
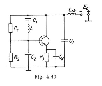
En la '''fig 4.10''' se muestra como ejemplo el esquema total de un autosscilador transitorizado, dise;ado por circuito capacitivo a tres puntos.
 +
[[Archivo:4.10.jpeg|400px]]
 
== Fuentes ==
 
== Fuentes ==
[[V. V. Shajguildoian|V. V. Shajguildoian]]. [[Transmisores de
+
[[V. V. Shajguildoian]]. [[Transmisores de radio]], p: 143-145. [[Editorial Mir Moscú]]. [[1983]]<br>
radio|Transmisores de radio]], p: 143-145. [[Editorial Mir
 
Moscú|Editorial Mir Moscú]].<br>
 
  
 
[[Category:Elementos_de_circuitos]]
 
[[Category:Elementos_de_circuitos]]

Revisión del 14:43 24 may 2011

El circuito alimentador de un autooscilador con corriente continua se da en la fig. 4.8 y 4.9. Como se mencionó, en el momento inicial para que las condiciones de autoexcitación (Smedk > 1/Zeq) se observen en menester que la pendiente de la característica Ic = f(UBE) del transistor sea bastante apreciable. Esto significa que la polarización inicial en la base del transistor deberá ser mayor que Eco. En caso de que surjan las oscilaciones es necesario, para aminorar la pendien­te media que, a medida que aumenta la amplitud de las oscilacio­nes, la polarización en la base del transistor se reduzca. En régimen estacionario se fija una polarización EB menor que la tensión de corte Eco. De esta manera en el autooscilador a transistor se debe disponer de una fuente de polarización de desbloqueo exterior EB.ext (a cuenta del divisor R1, R2 en la fig. 4.8) y otra, de polarización automática de bloqueo EB - EB,ext (a cuenta de la corriente IBo e Ico).
Fig 4.8.jpg

En régimen estacionario

EB = EcR2/(R1 + R2) – IBOR1R2/( R1 + R2) – R3 (Ico + IBO). (4.33) Aquí EB.ext = EcR2/(R1 + R2) es la polarización externa de desbloqueo; IBOR1R2/( R1+R2), la polarización automática, con­dicionada por la corriente de base; R3 (Ico + IBO). La polarización automática suscitada por la componente continua de la corriente de emisor IEO = Ico + IBO.

Teniendo en cuenta que: IBO = Ico/ßo e IEO = (1 + ßo) Ico/ ßo.

ßo es el coeficiente estático de amplificación en corriente en el circuito con EC), de (4.33) obtenemos:

EB = EcR2/(R1 + R2) – Ico{(1/ ßo) [R1R2/( R1 + R2) + R3] + R3}. (4.34) En caso de la aproximación lineal a trozos

Ico = SUBE1Yo(0); (4.35)

cos 0 = - (EB - Eco)/UBE1. (4.36) De (4.35) y (4.36) se obtiene la ecuación que relaciona la tensión de polarización (EB) y la componente continua de la corriente de colector:

EB = Eco - (Ico/S) [cos 0/Yo (0)]. (4.37)
Fig 4.9.jpg

Relación entre EB e ICO

La resolución conjunta de las ecuaciones (4.34) y (4.37) permite hallar la relación entre EB e ICO para un ángulo de corte 0 prefijado. En la fig. 4.9 se muestra la resolución gráfica del sistema de ecua­ciones (4.34) y (4.37) para el instante de autoexcitación (0 = 180º) y para el régimen estacionario (A < 90°). El punto A corresponde al régimen de autoexcitación; el punto B, al régimen estacionario. El paso del autooscilador del régimen de reposo al régimen estacio­nario va acompañado con la variación de la componente continua en la corriente de colector igual a Δlco. Con el fin de aminorar la alteración de los parámetros reactivos del transistor al variar Δlco, tienden a calcular los circuitos de polarización de manera que Δlco sea pequeño. Esto se consigue conectando en el circuito de emisor del transistor la resistencia R3, (ver fig. 4.8).

Efecto de los factores destabilizadores

Bajo el efecto de los factores destabilizadores, puede variar tam­bién la corriente de base IBO (debido a la dependencia apreciable de la temperatura del coeficiente ßo), y esto, a su vez, significa que en correspondencia con (4.33) cambia la tensión de polarización en la base del transistor. Este efecto puede reducirse si es que se cumple la desigualdad: R1R2/(R1 + R2) << (1 + ßo) R3. (4.38)

El segundo sumando en (4.33) es en este caso considerablemente menor que el tercero y por lo tanto la polarización automática, condicionada por la corriente de base, es muy pequeña comparada con la polarización automática estipulada por la corriente de emisor.

En la práctica las resistencias R1 y R, se eligen bastante considerables, con el fin de asegurar, sin elementos de bloqueo adiciona­, una pequeña derivación de los circuitos de r.f. del autooscilador.

En la fig 4.10 se muestra como ejemplo el esquema total de un autosscilador transitorizado, dise;ado por circuito capacitivo a tres puntos. 4.10.jpeg

Fuentes

V. V. Shajguildoian. Transmisores de radio, p: 143-145. Editorial Mir Moscú. 1983